Гравитационные накопители энергии
    Гравитацией называется сила взаимодействия между всеми материальными телами. Она прямо пропорциональна массе взаимодействующих тел и обратно пропорциональна квадрату разделяющего их расстояния.

Где 

 гравитационная постоянная.

    Для жителей нашей планеты ее масса является самой большой по отношению к любому расположенному на ней предмету. А это значит, что для нас важна сила притяжения Земли, называемая также силой гравитации, а вот притяжением, которое создают предметы между собой, можно пренебречь. По крайней мере, в рамках этой статьи.
    Это значит, что любой предмет на нашей планете, имеющий возможность упасть, имеет запас потенциальной энергии и может совершить работу. Не трудно установить, что запас потенциальной энергии прямо пропорционален массе предмета, а также его высоте по отношению к поверхности земли. 

    При этом следует учитывать, что радиус нашей планеты составляет 6400 километров, а это значит, что сила притяжения тела, поднятого на высоту 100 метров практически равна силе притяжения тела, имеющего возможность упасть в шахту глубиной 100 метров. Эти расстояния слишком малы по сравнению с радиусом планеты и изменением силы взаимодействия планеты, как одного из физических тел, и любого другого тела, при увеличении расстояния между ними, можно пренебречь.
    Кто первый решил использовать силу притяжения Земли для совершения работы, неизвестно, так же, как неизвестно, кто изобрел первый гидравлический аккумулятор. Примеры его работы известны каждому из нас с детских лет. Вспомните о часах с маятником и гирями, о кабине лифта, движение которой уравновешивается системой грузов или о песочных часах, отсчет времени которых происходит благодаря движению песка под воздействием все той же гравитационной силы.
    Нетрудно догадаться, что любое тело, поднятое на определенную высоту, приобретает запас энергии и хранит ее до того момента, как это тело будет сброшено с высоты и возвращено на поверхность земли. Пари падении тело совершает работу, расходуя запас энергии. Падать оно может медленно, может быстро, может преодолеть все расстояние, отделяющее его от земли, а может остановиться на половине пути, сохранив при этом половину запаса энергии.
    Вывод прост, тело, поднятое над поверхностью земли, может хранить запас энергии, являясь гравитационным аккумулятором. При этом запас энергии со временем не уменьшается и не приходит в негодность.
    
Идеальная модель гравитационного аккумулятора
    Кстати, песочные часы могут считаться идеальной моделью гравитационного аккумулятора. В них песок, находящийся в верхнем сосуде, обладает запасом потенциальной энергии, который уменьшается по мере перетекания песка в нижний сосуд. Процессом можно управлять, прекращая движение песка.
    По этому принципу работают гидравлические аккумуляторы, способные накапливать запас потенциальной энергии, а затем, при необходимости, расходовать его частично или полностью. Выполним простой расчет гравитационного аккумулятора, работающего на основе запаса воды.
    Потенциальная энергия, которой обладает тело, поднятое на высоту, можно рассчитать по формуле
E=mgh, где
m-масса тела
g-ускорение свободного падения
h-высота
    Для создания запаса энергии нужно воду поднять над поверхностью земли, закачав ее, например в бак. Для удобства расчета возьмем десять тонн воды и представим, что они подняты на высоту, равную 10 метрам, тогда
    Е=10000х9,81х10=1000000 Дж или 1МДж, что равно 0,278кВтхчас.
    Этого достаточно, чтобы в течении часа обеспечивать нагрузку в 280 Вт. Немного, но эффективность аккумулятора можно повысить простым путем, увеличив объем воды и высоту ее подъема.
    Такой накопитель может работать бесконечно долго, он надежен и прост, но для его устройства нужно иметь соответствующие емкости для воды, установить которые на необходимую высоту представляет собой сложную техническую задачу. 
    Между тем, примеры таких аккумуляторов энергии в промышленных масштабах известны. В этой связи можно вспомнить ГАЭС в штате Миссури в США. 
    
Накопитель копрового типа
    Поднять на высоту можно не только воду, но и любое тело. Проведем расчет для груза, поднятого на высоту 10 метров, массой 1000 кг. В этом случае запас энергии составит
    Е=1000х9,81х10=100кДж или 28 Втхчас.
    Такой гравитационный аккумулятор может хранить запас энергии бесконечно долго, а расходовать практически мгновенно. Это значит, что он может рассматриваться как вариант аккумулятора для накопления энергии при работе альтернативных источников энергии.
    На сегодняшний день есть немало предложений и разработок в области создания устройства, рассматриваемого как гидростатический аккумулятор энергии копрового типа, но идеального варианта пока нет.
    Приведем пример одного из последних изобретений, запатентованных в нашей стране.
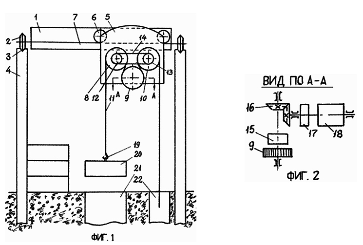
    На рисунке приведена схема устройства, которое предполагается использовать в качестве накопителя энергии в агрегате с генераторами, работающими от энергии солнца или ветра. В его основе лежит подъемно-транспортный механизм, способным перемещать по вертикальным направляющим тележку. Для крепления груза имеется специальный крюк. Груз может быть различным, в зависимости от количества установленных гирь. В конструкции предусмотрен редуктор и тормоз, что делает ее удобной при эксплуатации.
    Груз поднимается на высоту при помощи специального двигателя, запитанного от альтернативных источников энергии.
    При необходимости, груз отпускается, совершая при движении работу.
    Несмотря на оригинальное техническое решение, конструкция все же громоздкая, а создаваемый ею запас энергии не велик.
    Отсюда можно сделать вывод, что на сегодняшний день интерес представляют гравитационные аккумуляторы промышленного масштаба. В быту можно использовать такой аккумулятор в экстренных случаях, например, для зарядки мобильного телефона или подключения обычной лампочки.